【金猿案例展】温州商学院——学生一张表数据要素价值重塑实践
温州商学院案例
该数据要素案例由温州商学院投递并参与金猿组委会×数据猿×上海大数据联盟共同推出的《2025中国大数据产业年度数据要素价值释放案例》榜单/奖项评选。
在教育数字化转型与数据要素市场化配置的国家战略背景下,高校数据资源已从“管理附属品”跃升为“核心生产要素”。然而,多数高校的数据应用仍停留在“数据汇聚、静态展示”层面,形成了“有数据、无流动;有展示、无挖掘;有系统、无智能”的普遍困境,数据要素的真正价值未能释放。
温州商学院作为浙南闽北赣东地区唯一的商科类本科院校,早在数年前便建成“数据共享平台”,依托共享平台,实现了学生基础数据的归集与查询。但随着育人精细化、管理科学化、服务个性化需求的爆发式增长,原有系统已无法满足数据驱动决策的需求。学校数据孤岛依旧存在,数据之间缺乏关联分析与智能预警,数据服务未能形成闭环,更未能触及数据要素“可流通、可挖掘、可赋能”的核心层次。
为此,我校于2025年启动“学生一张表”数据要素价值重塑项目。本项目并非简单汇聚更多维度的学生相关数据,而是以数据要素流动与价值挖掘为核心,重构数据架构与服务模式。我们旨在打破传统“一张表”的静态展示逻辑,通过构建“采集-治理-关联-挖掘-预警-闭环”的全链路数据要素流通体系,让数据在教师、辅导员、院领导、校领导与学生之间高效、安全、智能地流动,最终实现数据从“资源”向“资产”乃至“资本”的价值跃迁,为高校育人模式创新与治理体系现代化提供可复制的范式。
时间周期:
项目启动时间:2025年1月
中间重要时间节点:
核心数据中台与智能模型构建完成:2025年6月
平台上线试运行与首批场景落地:2025年9月
项目全面验收与价值评估完成:2025年12月
数据要素价值需求
针对“学生一张表”项目,信息服务中心通过前期深入调研和全面分析,认为师生的需求已超越传统的数据整合与可视化,聚焦于数据要素的深度流动与价值释放,具体体现为三大核心诉求:
1.需求一:从“静态呈现”到“动态流动”,实现数据要素的按需赋能。
(1)师生痛点:数据沉睡在各系统,无法主动、精准流向需要的角色(教师、辅导员、管理者)。
(2)信息服务中心拆解与响应:我们提出“场景驱动流通”理念。不再仅提供查询入口,而是构建“数据触发器”和“服务推送引擎”。例如,将学生签到异常、成绩波动等数据要素,自动转化为预警消息,实时推送至辅导员和任课教师,实现数据要素向管理场景的主动流动。
2.需求二:从“单一查看”到“关联挖掘”,释放数据要素的耦合价值。
(1)辅导员和书记痛点:数据之间彼此孤立,无法通过关联分析发现学业风险、行为异常等深层问题。
(2)信息服务中心拆解与响应:我们构建“跨域数据关联网络”。打破签到、学业、消费、门禁、上网、图书借阅、能耗等数据要素的壁垒,通过规则引擎与机器学习模型,挖掘其内在联系。如“低绩点+夜间高频上网+食堂消费骤降”可关联触发“综合学业生活关怀预警”,让数据要素在碰撞中产生倍增价值。
3.需求三:从“工具应用”到“闭环治理”,建立数据要素驱动的决策反馈机制。
(1)管理者痛点:数据使用停留在查看阶段,未能形成“发现-决策-干预-反馈”的管理闭环。
(2)信息服务中心拆解与响应:我们设计“角色联动数据闭环”。为教师、辅导员、院领导、校领导设计差异化数据视图与联动任务。辅导员收到预警并干预后,干预结果作为新的数据要素反馈至系统,形成可评估的育人闭环,让数据要素贯穿管理全过程。
我们认为,高校数据要素的价值释放,关键在于构建一个“会思考、能流动、可闭环”的智能数据服务体系。我们提供的不仅是技术平台,更是一套以数据要素流通为核心的新型育人工作模式。
面临挑战
项目推进过程中,在“数据要素价值释放”层面,我们面临了远比传统数据集成项目更深刻的挑战。
1.数据要素“流不动”的机制之困。数据权责分散于各个部门,缺乏促使其跨部门流动的激励机制与合规路径。如何在不逾越数据安全红线的前提下,建立一套被各方认可的数据要素内部流通协议,是项目面临的首要制度挑战。
2.数据要素“挖不深”的技术之困。传统“一张表”仅支持单点查询,缺乏对多源异构数据(如文本评教、消费流水、网络日志)进行实时关联与模式识别的能力。如何构建轻量、高效、可解释的关联挖掘模型,是实现数据价值从“表层”走向“深层”的技术瓶颈。
3.数据要素“用不闭环”的场景之困。即使提供了预警信息,如何确保辅导员、教师等角色能有效使用并反馈结果,形成数据驱动的管理闭环,而非停留在“信息过载”层面。这涉及到业务流程再造与用户习惯变革,是价值释放的“最后一公里”难题。
4.数据要素“管不安全”的风险之困。数据流动与关联挖掘必然伴随更高的隐私泄露与滥用风险。如何在实现数据价值最大化的同时,构建贯穿全生命周期、贴合教育行业特性的数据安全防护体系,是项目能否可持续发展的生命线。
这些挑战共同指向一个核心命题——高校的数据要素化改革,是一场涉及技术、制度、流程、安全的综合性战役。本项目正是对这些挑战的系统性回应。
数据处理
本项目以“流动产生价值,关联激发智能”为数据处理核心理念,构建了规模庞大、动态实时、深度关联的数据要素处理体系。
数据体量:日均处理数据超600万条,涵盖全校20000余名师生活动产生的全维度数据。
数据类型与处理:核心结构化数据(日增约100G):学籍、成绩、课表、签到、门禁、消费等,通过流批一体管道实时入湖,确保要素鲜活性。
半结构化/非结构化数据:上网行为日志、图书借阅摘要、学业预警记录、日程轨迹数据等,通过NLP与文本挖掘技术进行要素提取与标签化。
数据处理流程的四大升级:
1.从“批量ETL”到“实时流注入”:使用Apache Kafka+Flink架构,将签到、消费等关键行为数据的延迟从“天级”降至“秒级”,保障流动的时效性。
2.从“字段清洗”到“关系构建”:在清洗的基础上,通过图计算技术构建“学生-课程-行为”关联网络,识别潜在社群与异常链路。
3.从“分级存储”到“智能分层”:根据数据热度与关联度,自动将数据在Hot(实时缓存)、Warm(分析引擎)、Cold(对象存储)三层间调度,优化存储与计算成本。
4.从“结果存储”到“过程追溯”:所有数据要素的流动、访问、关联计算过程均记录存证,实现数据要素流转的全程可审计、可追溯。
通过以上处理,我们将原本静态、孤立的“数据资料”,转化为动态、互联、可追溯的“数据要素流”,为上层智能应用提供了坚实基础。
数据技术与实施过程
本项目标志着高校“学生一张表”从数据归集工具向数据要素运营平台的范式跃迁。我们的核心突破在于,不再满足于数据的静态陈列与被动查询,而是致力于构建一个“数据驱动决策、智能预警风险、流程形成闭环”的智慧育人中枢。整个技术实施过程,本质上是为数据赋予“生命力”的过程,通过体系化的框架设计、全流程的质量与安全管控,以及场景化的价值应用,确保数据要素能够安全、高效、智能地流动起来,最终转化为可衡量的育人效能与管理提升。以下是基于“采集-治理-应用”一体化架构的详细实施脉络。
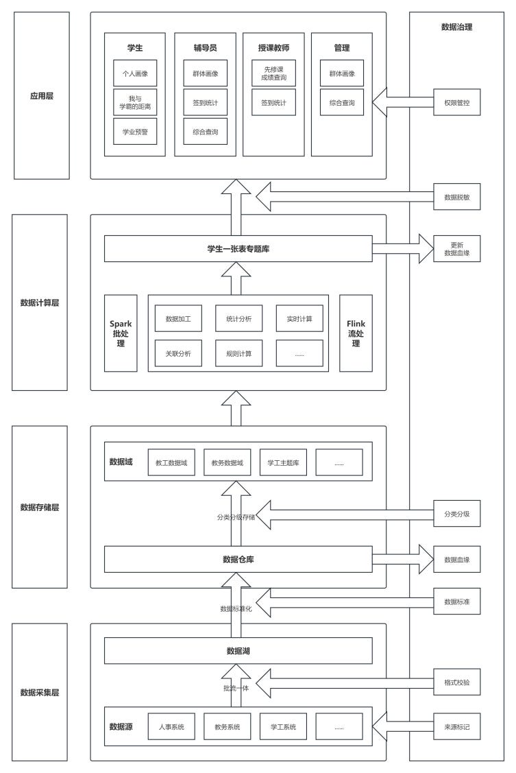
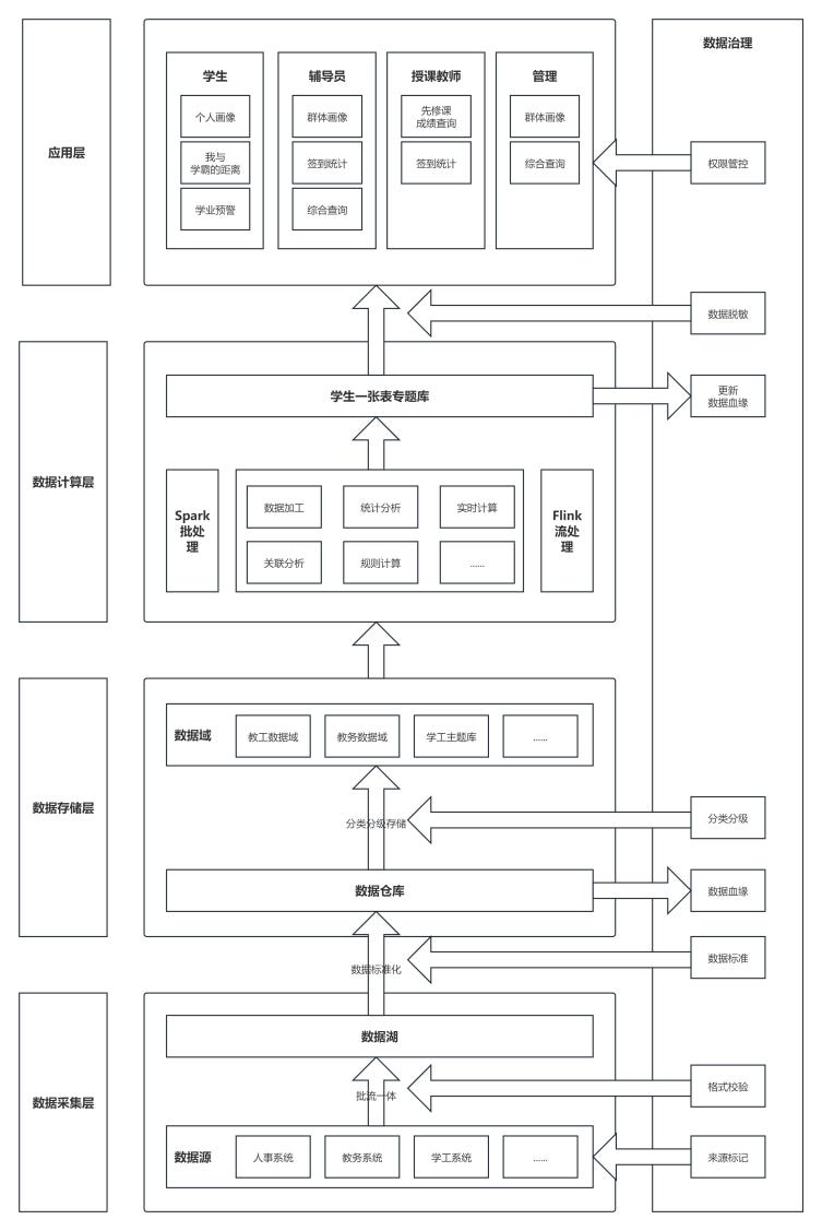
1.构建分层协同、支撑数据全生命周期流动的技术底座
为确保数据要素从源端到应用端的顺畅流动与价值转化,我们设计了层次分明、能力聚合的“数据采集层-存储层-计算层-应用层”四级架构,并在数据应用开发的全过程贯穿数据治理工作。核心技术栈覆盖批流一体集成、分级存储、智能计算、合规治理等能力,适配多源异构数据处理与场景化应用需求。
图1:“学生一张表”数据要素价值释放技术架构
·数据采集层:作为数据流动的起点,采用批流一体集成模式,从32个异构业务系统“汲取”数据。
·存储层:根据数据热度、类型与安全等级,采用分级存储策略,为高效访问与计算提供合适“仓库”。
·计算层:提供Spark批处理与Flink流处理双引擎,是数据加工、关联分析与实时计算的“心脏”。
·应用层:价值实现的“触点”,通过“学生一张表”统一门户,向不同角色输出场景化数据服务。
·数据治理:贯穿始终的“神经系统”,实施数据标准、质量、安全、血缘的全方位管控,确保流动合规、可信。
2.体系化构建数据要素基础框架——绘制“数据地图”与“安全交规”
在数据开始流动之前,必须先回答“有什么数据”以及“数据如何安全流动”两个元问题。我们通过系统性地梳理与定标,为整个项目奠定可控、安全的基石。
·全量数据要素盘点——绘制精准的“数据资源地图”。
我们联合教务、学工、后勤等11个部门,开展了为期两个月的深度调研与盘点,最终形成了覆盖学生全生命周期的《数据资产清单》。这份清单不是简单的目录,而是包含以下关键维度的动态“地图”。
资源边界。明确12大类、300余个数据字段,涵盖从入学基本信息到离校状态的完整闭环。
数据血缘。逐一标注每个字段的来源系统、责任部门与更新频率。例如,“课程签到”来源于智慧课程平台,由教务部门和信息服务中心共同维护,签到开始后每五分钟更新一次。
状态标识。区分静态数据(如学籍)与动态数据(如实时位置),为后续采取不同的采集与处理策略提供依据。
这份地图让原本隐形的数据资产变得可见、可管、可溯源,实现了“底数清、来源明”,从根本上解决了“数据孤岛”的认知问题,为后续的数据汇聚与关联应用提供了精准的导航。
·数据分级分类标准制定——确立不可逾越的“安全交规”。
数据流动的前提是安全。我们依据《教育数据安全管理办法》《温州商学院数据安全管理办法》和《温州商学院个人信息保护管理办法》,将全校数据要素划分为L1(公开)至L5(核心敏感)五级管控体系,并制定了对应的“管控规则”。
表1:数据分级分类标准与管控规则
我们在项目启动之初就植入安全基因,确保后续所有技术设计和数据流动都在合规的轨道上进行,实现了“安全先行,流动放心”。
3.全流程保障数据要素质量与安全——打造高质、可信的“数据流水线”
本阶段目标是将原始、粗糙的“数据矿石”,通过一条自动化、智能化的“流水线”,冶炼成高质量、可直接用于价值创造的“数据元件”。
·多模式数据采集:构建“主动脉”与“毛细血管”并行的输送网络。
我们采用“批量同步保完整,实时流处理保鲜活”的混合采集模式,确保数据及时、全面地汇聚。
低频批量采集。针对学生基本信息、课表等变化缓慢的数据,每日凌晨通过ETL作业进行同步,如同定时的“货运专列”,保障基础数据的完整性。
高频实时流采集。针对一卡通消费、课堂签到、门禁通行等日均超500万条的行为数据,部署Flink+Kafka实时处理框架。数据产生即被捕获、传输和处理,延迟控制在秒级,如同校园的“数据血液循环系统”,为实时预警提供了可能。
此外,为应对签到高峰等脉冲压力,我们在Kafka中设置了缓冲队列,确保了数据流水线的稳定不堵塞。
·精细化数据清洗与治理——实施严格的“质量质检”与“标准包装”。
数据汇聚后,我们建立了“规则引擎为主,人工复核为辅”的质量管控体系。
自动化清洗。通过预先定义的8类、279条质量规则,系统自动完成去重(如重复签到)、补全(如缺失的时间戳)、纠错(如消费负值)。清洗准确率高达99.8%,将数据合格率从不足70%提升至90.5%。
标准化处理。统一了所有核心字段的定义与格式。例如,将来自不同系统的“成绩”统一为百分制,解决了跨系统关联分析的根本障碍。
高质量的数据是后续所有智能分析可信度的基石。通过自动化治理,我们释放了业务人员手工核对数据的负担,让他们能专注于数据价值的解读与应用。
·分级存储与安全治理——实现数据全生命周期的“可管可控可追溯”。
我们根据数据特性和访问需求,设计并落地了数据安全治理与防护体系。
图2:数据安全治理与防护体系
智能分层存储:(1)PostgreSQL。存储学生、课程等关系型主数据,支撑高频事务查询;(2)ClickHouse。存储并分析海量行为日志数据,满足辅导员、管理者多维快速分析的需求;(3)MinIO对象存储。安全存储人脸图片等非结构化敏感数据。
立体安全防护:(1)细粒度权限管控。基于RBAC(基于角色的访问控制)模型,实现了从系统、模块到数据字段的层层精准控制。权限与具体业务场景绑定,并支持动态生效与回收。例如,任课教师仅能查看本学期所授班级学生的成绩,且该权限在课程结课后自动收回;辅导员则可长期查看所带班级学生的全维度数据;(2)动态数据脱敏。在细粒度权限的基础上,对同一数据项针对不同角色实施差异化展示,实现“千人千面”的隐私保护。例如,辅导员查看学生手机号为完整号码,而院领导进行统计分析时,系统则自动展示为“138****5678”的脱敏格式。这确保了数据在必要流动的同时,个人隐私信息得到最大程度地保护。
全流程审计追踪:所有用户对敏感数据的访问、查询、导出及修改操作均被完整记录,形成不可篡改的审计日志。这不仅满足了合规性要求,更能实现“数据流动全程留痕、权限访问异常可溯、安全事件责任可定”,为数据的安全可控流动提供了坚实的追溯与问责依据。
安全策略优化:审计结果是安全策略迭代的核心依据:审计系统通过分析用户操作日志、异常访问记录等数据,定位权限矩阵模糊等“策略缺陷”,及脱敏算法与需求不匹配等“执行偏差”,安全管理团队据此细化RBAC权限、优化脱敏规则等,避免策略僵化。
4.场景化落地数据要素价值应用——驱动数据向育人生产力的直接转化
数据的终极价值在于应用。我们以“学生一张表”平台为载体,将处理好的数据要素,通过智能计算,精准投送到具体的育人场景中,并形成管理闭环。
·智能计算赋能——让数据从“被查看”转向“会预警、能预测”。
实时规则引擎。我们将120余条育人管理经验(如“夜不归宿且近期旷课需关注”)转化为可执行的数字化规则。当实时数据流触发规则时,系统在秒级内自动生成预警并推送,相当于为每位辅导员配备了一位“24小时在岗的AI助手”。
轻量预测模型。采用LightGBM算法,构建学业预警模型。该模型综合成绩趋势、消费变化、上网行为等20+特征,提前一学期预测学业风险学生,准确率超过85%,使管理工作从“事后补救”转向“事前干预”。
关联分析挖掘。通过批处理计算,发现“课堂前排就座率”“图书馆特定楼层停留时长”与“期末成绩排名”呈显著正相关,为引导学生优化学习空间与习惯提供了量化依据;识别出“特定网络行为与学业下滑”之间存在强关联,为个性化教学与学风建设提供了数据依据。
·平台化服务输出——打造“一人一表,千人千面”的统一门户。
“学生一张表”平台绝非信息的简单堆砌,而是面向不同角色的“数据工作台”。
学生端:提供“学业健康诊断”“时间管理分析”,引导学生自我规划。
教师端:核心是“先修课成绩查询”与“课堂实时到课率”,让教师课前掌握学情,课中调整节奏,实现精准教学。
辅导员端:核心是“预警任务中心”。来自规则引擎和预测模型的所有预警在此汇聚,辅导员还可收到实施推送,详细情况支持一键导出与家长共享,形成家校协作完整工作闭环。
管理端:提供“学院数据驾驶舱”和“学校驾驶舱”,宏观展示学风态势、教学态势和学业预警等,支撑科学决策。
图3:学生个人画像
·闭环化运营保障——确保数据价值持续释放。
持续迭代。项目上线后,我们建立了由技术和业务人员组成的联合运营小组。基于使用反馈,在三个月内完成了3轮迭代,新增了“我与学霸的距离”“日程轨迹”等5个场景,使平台愈加强大。
效果量化。平台访问量是价值的直接体现。我们上线了平台访问量多维统计功能,精准分析平台访问数据,聚焦薄弱环节,针对性提升平台服务效能。上线不到三个月,“学生一张表”总访问量突破50,000次,日均活跃用户超500人,成为全校最受欢迎的数据服务类应用,这直观证明了数据要素的价值得到了我校师生的广泛认可。
5.总结——从技术集成到价值创造的系统性跨越
综上所述,“学生一张表”项目的技术实施,是一次系统的、以价值释放为目标的工程实践。我们不仅集成了批流一体、智能计算等先进技术,更重要的是,我们通过“基础框架治理化、处理流程安全化、应用场景闭环化”的三重设计,构建了一套让数据要素持续流动、持续创造价值的良性循环机制。数据不再仅仅是存储在服务器中的记录,而是变成了活跃在校园每一个育人环节中的“智慧血液”,精准滴灌教学、管理、服务的每个场景,最终为温州商学院实现“数据驱动、精准赋能”的现代化治理提供了坚实核心支撑。
生态伙伴合作
本次合作携手生态合作伙伴南京迪塔维数据技术有限公司,依托其专业的数据汇聚、治理及应用服务能力,高效处理学生全维度数据。
针对个人基本信息、课表等数据,以及一卡通消费、课程签到、学业信息等千万级高频行为数据,还有人脸、闸机、消费、签到、成绩等敏感数据,迪塔维通过多源异构数据统一归集方案,实现实时/批量接入与合规校验。在数据治理环节,其分级分类管控体系适配不同数据特性,结合脱敏、加密等技术保障隐私安全,同时完成脏数据清洗与结构化处理。基于汇聚治理后的高质量数据,迪塔维进一步提供学生群体画像构建、学业趋势分析、轨迹监控预警等应用服务,支撑校园管理决策与个性化学生服务,全面释放数据价值,为智慧校园建设提供坚实支撑。
合作服务效果
本项目彻底改变了温州商学院数据应用的形态,实现了从“数据展示系统”到“数据生产要素运营平台”的质变,价值释放效果显著。
1.管理效能倍增。辅导员基于数据的主动干预比例提升40%,学业预警的早期发现率提升60%,管理响应时间从平均2天缩短至2小时。数据要素的流动,让育人工作从“被动响应”走向“主动预防”。
2.教学决策科学化。超过70%的任课教师使用“先修课成绩查询”及“智能课堂数据分析”等功能调整教学重点,学生学习质量明显提升。数据要素成为精准教学的“导航仪”。
3.服务闭环形成。系统内85%的预警信息完成了从“推送-处理-反馈”的闭环,积累了宝贵的干预案例库,为构建基于数据的育人知识图谱奠定了基础。
4.师生获得感与活跃度爆棚。平台上线不到三个月,总访问量突破5万人次,日均活跃用户超1000人,成为全校最受师生欢迎的应用。这直观证明了数据要素价值释放得到了用户的真认可。
5.数据安全与流通平衡。通过项目建立的合规流通机制,实现了数据安全事故“零发生”,同时数据跨部门申请使用周期从一周缩短至线上即时审批,在安全前提下极大释放了数据活力。
关于企业
·温州商学院
温州商学院(Wenzhou Business College)是浙南闽北赣东唯一的商科类本科院校,位于浙江省温州市。学校现有在校生20000多人,教职工1200多人,其中,高级职称教师450人,硕博士学位教师占比超过95%。学校高度重视数字化转型,将数据治理与智能应用作为战略发展方向,已建成覆盖教学、管理、服务全域的智慧校园底座。本次“学生一张表”数据要素价值重塑项目,是学校以自身为试验田,探索高校数据要素化改革路径的先锋实践,旨在形成可复制、可推广的“温商经验”。
·迪塔维
南京迪塔维数据技术有限公司(以下简称“迪塔维”)成立于2014年,深耕教育信息化行业大数据领域,总部位于中国南京软件谷,并在全国多地设有分支机构。迪塔维公司是行业内广受好评的专业数据治理、数据应用解决方案提供商,致力于建设高效、智能、规范、安全的数据服务体系和融合联接、开放使能的数据治理生态,推动高校数智化转型。
迪塔维作为国家级高新技术企业,汇聚了专业化的数据人才队伍,并坚持“客户定义产品”的理念,立足用户需求,服务打造品牌,做与用户相互赋能、携手共赢的数据服务提供者、数字化转型领航者。团队专注于教育行业数据治理及数据应用服务,技术服务人员占比80%以上,具备10年以上数据累积经验人员30+,手握百余项数据技术相关知识产权和多项数据技术发明专利及业内权威认证,坚持自主研发,持续创新提供高校数据技术全栈产品,是高校数据中台技术体系最早的建设者和实践者。
★以上由温州商学院投递申报的数据要素案例,最终将会角逐由金猿组委会×数据猿×上海大数据联盟联合推出的《2025中国大数据产业年度数据要素价值释放案例》榜单/奖项。
该榜单最终将于1月上旬上海举办的“2025第八届金猿大数据产业发展论坛——暨AI Infra & Data Agent趋势论坛”现场首次揭晓榜单,并举行颁奖仪式,欢迎报名莅临现场。





